ARRL

Register Account

Login Help

VHF and UHF

Antennas for the VHF and UHF bands are similar in many ways to HF antennas. The main differences are that VHF/UHF antennas are smaller and the losses caused by poor feed lines and elevated SWRs (or both) are more critical. 

Omnidirectional Antennas

This type of VHF antenna transmits and receives in all directions at once (the same is true of the dipoles, loops and vertical antennas for HF use). All commonly used mobile antennas are omnidirectional. This makes sense because it is impractical to stop and point your car in the direction of the station you want to contact. Instead, the omnidirectional mobile antenna blasts your signal in all directions so that you’ll stand a decent chance of communicating no matter where you are driving. 

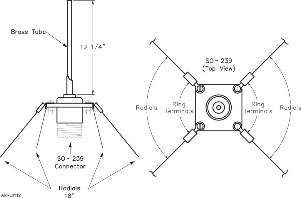
Omnidirectional antennas are also found in base stations where the goal is to transmit and receive from any direction with minimal hassle and expense. Common omnidirectional antenna designs for base stations include ground planes, loops and J-poles, but there are others. 

An omnidirectional antenna spreads your signal over a broad area, depending on how high you install it. Height is critical to the performance of all antennas at VHF and UHF frequencies. Higher is always better, whether that means putting the antenna on a flagpole, tower or a rooftop. If you are fortunate enough to operate from the summit of a hill or mountain where Mother Earth provides the altitude, that works, too. 

If the advantage of an omni is that it radiates in all directions, that can be its disadvantage as well. An omnidirectional antenna can’t focus your reception or transmission. Once you put it in place, what you get is…well…what you get. There is little you can do to change it. If the station you’re talking to is west of your location, for example, all the power you are sending north, south and east is wasted. You will also receive signals--possibly interfering signals--from the same useless directions. 

Directional Antennas

As the name implies, directional “beam” antennas focus your power and reception in a single direction. Just like HF antennas, directional VHF designs work by canceling the energy that radiates toward the back of the antenna and reinforcing the energy going toward the front. The result is a beam of RF power (and concentrated receive sensitivity) not unlike a searchlight or a magnifying glass. 

Directional antennas are ideal at VHF and UHF when you want maximum distance and minimum interference. They are almost mandatory for VHF DX work and satellite operating. Directional antennas also help tremendously on VHF FM when you’re trying to communicate with a distant station. Common directional antenna designs include the Yagi, quad and Moxon. Parabolic dish antennas—the kind you’ve likely seen for satellite TV reception—are also directional antennas. 

So what is the downside?

Directional antennas tend to be more complex and difficult to assemble. They can also be quite large in some configurations. For instance, a highly directional Yagi antenna for the 6-meter band, a model with 11 sections known as elements, can include a boom assembly that’s nearly 70 feet in length. 

And what happens if your antenna is pointing north and the station you want to talk to is south? Unless you can turn your antenna, communication will be difficult or impossible. This is where the antenna rotator comes into play, just as it did for HF beam antennas. You may recall that a  rotator is an electric motor that you install below your directional antenna. Its job is to turn your antenna to the direction you require. 

Rotators add to the cost and complexity of a directional antenna system. A light duty rotator can cost about $100. If you need a heavy duty rotator to turn a bigger antenna (or more than one antenna), the cost can reach $500 or more. In addition to the hassle of stringing your feed line from the antenna back to your radio, you must also string a cable for the rotator. More wires equal more work, although the reward can be considerable!

Join ARRL

Donate Now

QST Get it here

EXPLORE ARRL

Instragram     Facebook     Twitter     YouTube     LinkedIn
Copyright © 2026 The American Radio Relay League, Inc. All rights reserved. Reproduction of material from any ARRL web page without written permission is strictly prohibited.